Amazon patentó una jaula robotizada para sus trabajadores, aunque promete no desarrollarla
La última patente conocida de Amazon ha sido tildada por el vicepresidente de operaciones de la compañía, Dave Clark, como "una mala idea", y han prometido que no se va a desarrollar.
A la empresa fundada por Jeff Bezos se le han conocido patentes que abrían la puerta a monitorear a sus empleados a través de una pulsera, crear colmenas de drones o almacenes aéreos para mejorarlos repartos.
En su última idea conocida proponía enjaular a los empleados de sus almacenes para que fuesen más eficientes.
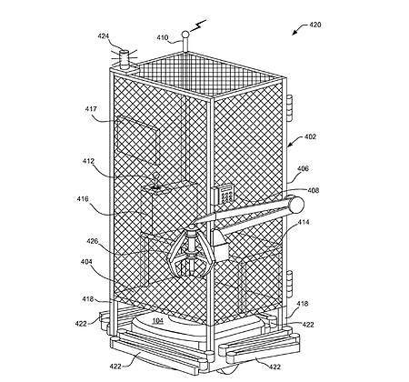
Según relata The Seattle Times, Amazon patentó en 2016 un sistema en el que los empleados se colocaban dentro de una jaula situada encima de un robot automatizado, lo que permitiría a los trabajadores compartir espacio en las áreas en las que operan los robots automatizados Kiva.
La idea fue registrada en la oficina de patentes norteamericana (USPTO, por sus siglas en inglés) en 2016 y detallaba cómo el trabajador podría trabajar de una forma integrada con los robots autónomos que pueblan sus almacenes.
Los jefes "Millennial" son un aspiracional para los empleados, ¿pero qué piensan ellos sobre ese nuevo rol?
Clark ha explicado a través de Twitter que "a veces, incluso las malas ideas se envían para las patentes. Esto nunca se usó y no tenemos planes de uso. Desarrollamos una solución mucho mejor, que es un chaleco pequeño que los empleados pueden usar y que hace que todas las unidades de accionamiento robótico en su proximidad dejen de moverse".
Aunque Amazon asegura que nunca ha implementado esta tecnología, y no tiene planes de hacerlo, el diseño parece ser un esfuerzo para permitir que los humanos entren sin peligro en las zonas altamente automatizadas para, por ejemplo, hacer reparaciones o recoger objetos caídos sin necesidad de parar la actividad.

Actualmente si un humano entra en el área de robots automatizados capaces de mover estanterías enteras, salta una alarma y la actividad se para por completo. Sin embargo, con esta patente el trabajador y los robots Kiva podrían convivir, con lo que no habría que parar la actividad del almacén.
Lindsay Campbell, portavoz de Amazon, ha explicado al diario que las especulaciones sobre el uso de la patente por parte de la compañía estaban "equivocadas", al tiempo que ha insistido que nunca se implementará esta idea. "Al igual que muchas empresas, presentamos varias solicitudes de patentes prospectivas. Muchas no ven la luz como productos terminados".