Samsung prepara un drone que se puede controlar con el movimiento de los ojos
Las patentes de las grandes compañías suelen dar una idea de hacia dónde se dirige la tecnología del futuro más inmediato: esa que es posible sobre el papel, pero que aún no ha llegado a las manos de los usuarios.
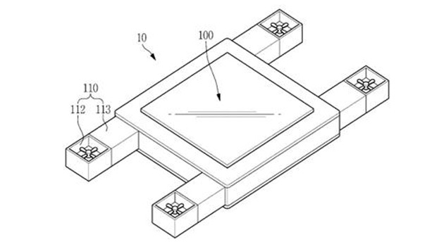
El último caso es el drone que se puede controlar con la mirada de Samsung, algo así como una "pantalla voladora" que es capaz de detectar la cara y las pupilas de una persona, además de sus gestos y la posición de su mano. La patente muestra una unidad que presenta una pantalla en el centro con cuatro hélices en cada esquina y fue descubierta por el medio especializado LetsGoDigital.

El documento recoge que este dispositivo puede incluir una cámara y un sistema de observación para transmitir información a la unidad de control principal. El equipo puede rastrear los ojos, la cabeza, las manos o los dedos de los usuarios en tiempo real.
La velocidad y dirección del vuelo del drone se puede controlar moviendo la cabeza, los ojos o las manos, y la unidad también puede rastrear automáticamente a los usuarios sin ningún gesto adicional.
La unidad también puede incluir un sensor de giroscopio, un sensor de movimiento, un sistema de vibración e incluso un acelerómetro. Las capacidades de reconocimiento de voz, así como el GPS y un sistema de posicionamiento basado en Wi-Fi son otras funciones que la patente describe que el drone podría tener. La solicitud se presentó el 3 de enero de 2016 y se otorgó el 13 de febrero de 2018.
Otras grandes empresas, como Amazon, también han presentado otras patentes entre las que se encuenttra, por ejemplo, un drone que se autodestruye en caso de emergencia. También es conocida su intención de liderar el mercado de los "delivery" automatizados, señala ABC.
En cuanto a las aplicaciones del drone patentado por Samsung, aunque no se señalan, podría ser un nuevo soporte para la publicidad, mostrando anuncios personalizados.